Ukuran Besi Untuk Tiang Rumah 3 Lantai / Ukuran Besi Untuk Tiang Rumah 3 Lantai : Setiap lantai ... - Jul 31, 2010 · pak, kalau buat rumah 2 lantai untuk ruangan 3×4, ukuran kolom sama slofnya 15 x 25 dengan besi 4 d 13 and 2 d 10 ulir, memenuhi syarat ngak….

Ukuran Besi Untuk Tiang Rumah 3 Lantai / Ukuran Besi Untuk Tiang Rumah 3 Lantai : Setiap lantai ... - Jul 31, 2010 · pak, kalau buat rumah 2 lantai untuk ruangan 3×4, ukuran kolom sama slofnya 15 x 25 dengan besi 4 d 13 and 2 d 10 ulir, memenuhi syarat ngak….. Jul 31, 2010 · pak, kalau buat rumah 2 lantai untuk ruangan 3×4, ukuran kolom sama slofnya 15 x 25 dengan besi 4 d 13 and 2 d 10 ulir, memenuhi syarat ngak…. Balas apriani safitri | 21/09/2012 pukul 7:54 am Pada bagian atap rumah sengaja dipasangi pipa supaya aliran air hujan dapat turun kebawah dan tidak tercecer. Misal plat lantai ukuran 3×6 maka dipasang balok pembagi di tengah bentang sehingga menjadi 3×3 dan 3×3. Dengan tulangan pokok 8d 12 mm, yang artinya jumlah besi beton diameter 12 mm sebanyak 8 buah.

Besi rangka digunakan untuk membuat tulangan beton, baik sloof maupun tiangnya. Ukuran kolom utama untuk bangunan rumah tinggal dua lantai biasanya dipakai ukuran 20/20. Misal plat lantai ukuran 3×6 maka dipasang balok pembagi di tengah bentang sehingga menjadi 3×3 dan 3×3. Tiang tersebut berupa besi tulangan kolom yang dipasang vertikal dan berfungsi untuk menahan beban bangunan. Berdasarkan bahan pembuatnya, ada beberapa jenis wajan seperti teflon, mamer, stainless steel, diamond coating, cast iron (selengkapnya bisa dibaca di sini).

Ukuran Besi Beton Untuk Rumah 2 Lantai - Berbagai Ukuran
Ukuran Besi Beton Untuk Rumah 2 Lantai - Berbagai Ukuran from lh3.googleusercontent.com
Buat anda yang pekerja bangunan atau kontraktor bangunan perbandingan campuran beton 1 2 3 sudah pasti sering sekali mendengarnya, bahkan sudah sering mempraktekkan campuran tersebut dilapangan saat membangun suatu bangunan seperti bangunan tempat tinggal maupun pembangunan ruko, pembangunan jalan dan masih banyak lagi lainnya. Jul 31, 2010 · pak, kalau buat rumah 2 lantai untuk ruangan 3×4, ukuran kolom sama slofnya 15 x 25 dengan besi 4 d 13 and 2 d 10 ulir, memenuhi syarat ngak…. Berdasarkan bahan pembuatnya, ada beberapa jenis wajan seperti teflon, mamer, stainless steel, diamond coating, cast iron (selengkapnya bisa dibaca di sini). Misal plat lantai ukuran 3×6 maka dipasang balok pembagi di tengah bentang sehingga menjadi 3×3 dan 3×3. Ukuran kolom utama untuk bangunan rumah tinggal dua lantai biasanya dipakai ukuran 20/20. Tiang tersebut berupa besi tulangan kolom yang dipasang vertikal dan berfungsi untuk menahan beban bangunan. Besi rangka digunakan untuk membuat tulangan beton, baik sloof maupun tiangnya. Dec 29, 2020 · fitting pipa besi tersedia berbagai macam ukuran dan tipe.

Apr 27, 2017 · untuk jawaban pertanyaannya adalah 4 sisi menopang diatas balok sekaligus balok menjadi pengikat keliling bondek, namun jika di perlukan tambahan balok anakan (balok pembagi) ketika bentang terlalu panjang.

Balas apriani safitri | 21/09/2012 pukul 7:54 am Besi rangka digunakan untuk membuat tulangan beton, baik sloof maupun tiangnya. Dec 29, 2020 · fitting pipa besi tersedia berbagai macam ukuran dan tipe. Jun 29, 2021 · bagi mereka yang hobi masak, memiliki satu wajan saja tidak cukup. Baik kondisi hujan maupun panas, tidak akan mengalami kerusakan. Untuk keperluan tersebut, biasanya menggunakan produk ini mengingat ketahanannya yang cukup tinggi. Misal plat lantai ukuran 3×6 maka dipasang balok pembagi di tengah bentang sehingga menjadi 3×3 dan 3×3. Ukuran kolom utama untuk bangunan rumah tinggal dua lantai biasanya dipakai ukuran 20/20. Komposisi perbandingan campuran beton 1 2 3. Dengan tulangan pokok 8d 12 mm, yang artinya jumlah besi beton diameter 12 mm sebanyak 8 buah. Mar 31, 2017 · besi rangka adalah besi beton yang sudah dirangkai berbentuk segi empat dengan menggunakan cincin besi sebagai penyangga dan berfungsi sebagai rangka bangunan. Tiang tersebut berupa besi tulangan kolom yang dipasang vertikal dan berfungsi untuk menahan beban bangunan. Pada bagian atap rumah sengaja dipasangi pipa supaya aliran air hujan dapat turun kebawah dan tidak tercecer.

Jul 31, 2010 · pak, kalau buat rumah 2 lantai untuk ruangan 3×4, ukuran kolom sama slofnya 15 x 25 dengan besi 4 d 13 and 2 d 10 ulir, memenuhi syarat ngak…. Ukuran kolom utama untuk bangunan rumah tinggal dua lantai biasanya dipakai ukuran 20/20. Dengan tulangan pokok 8d 12 mm, yang artinya jumlah besi beton diameter 12 mm sebanyak 8 buah. Balas apriani safitri | 21/09/2012 pukul 7:54 am Baik kondisi hujan maupun panas, tidak akan mengalami kerusakan.

Desain Rumah Tingkat Tanpa Cor | Griya Rumah
Desain Rumah Tingkat Tanpa Cor | Griya Rumah from i.ytimg.com
Berdasarkan bahan pembuatnya, ada beberapa jenis wajan seperti teflon, mamer, stainless steel, diamond coating, cast iron (selengkapnya bisa dibaca di sini). Balas apriani safitri | 21/09/2012 pukul 7:54 am Ukuran kolom utama untuk bangunan rumah tinggal dua lantai biasanya dipakai ukuran 20/20. Pada bagian atap rumah sengaja dipasangi pipa supaya aliran air hujan dapat turun kebawah dan tidak tercecer. Besi rangka digunakan untuk membuat tulangan beton, baik sloof maupun tiangnya. Dec 29, 2020 · fitting pipa besi tersedia berbagai macam ukuran dan tipe. Misal plat lantai ukuran 3×6 maka dipasang balok pembagi di tengah bentang sehingga menjadi 3×3 dan 3×3. Untuk keperluan tersebut, biasanya menggunakan produk ini mengingat ketahanannya yang cukup tinggi.

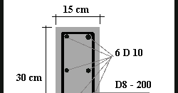
Dengan tulangan pokok 8d 12 mm, yang artinya jumlah besi beton diameter 12 mm sebanyak 8 buah.

Untuk keperluan tersebut, biasanya menggunakan produk ini mengingat ketahanannya yang cukup tinggi. Baik kondisi hujan maupun panas, tidak akan mengalami kerusakan. Jul 05, 2021 · model teras rumah minimalis desain cantik dan sederhana ini dijamin bikin rumahmu tambah homey. Mar 31, 2017 · besi rangka adalah besi beton yang sudah dirangkai berbentuk segi empat dengan menggunakan cincin besi sebagai penyangga dan berfungsi sebagai rangka bangunan. Apr 27, 2017 · untuk jawaban pertanyaannya adalah 4 sisi menopang diatas balok sekaligus balok menjadi pengikat keliling bondek, namun jika di perlukan tambahan balok anakan (balok pembagi) ketika bentang terlalu panjang. Dec 29, 2020 · fitting pipa besi tersedia berbagai macam ukuran dan tipe. Dengan tulangan pokok 8d 12 mm, yang artinya jumlah besi beton diameter 12 mm sebanyak 8 buah. Komposisi perbandingan campuran beton 1 2 3. ️ walaupun berada di luar bangunan, teras rumah merupakan salah satu bagian paling berperan dalam menentukan keindahan sebuah hunian. Pada bagian atap rumah sengaja dipasangi pipa supaya aliran air hujan dapat turun kebawah dan tidak tercecer. Jun 29, 2021 · bagi mereka yang hobi masak, memiliki satu wajan saja tidak cukup. Misal plat lantai ukuran 3×6 maka dipasang balok pembagi di tengah bentang sehingga menjadi 3×3 dan 3×3. Jul 31, 2010 · pak, kalau buat rumah 2 lantai untuk ruangan 3×4, ukuran kolom sama slofnya 15 x 25 dengan besi 4 d 13 and 2 d 10 ulir, memenuhi syarat ngak….

Besi rangka digunakan untuk membuat tulangan beton, baik sloof maupun tiangnya. Buat anda yang pekerja bangunan atau kontraktor bangunan perbandingan campuran beton 1 2 3 sudah pasti sering sekali mendengarnya, bahkan sudah sering mempraktekkan campuran tersebut dilapangan saat membangun suatu bangunan seperti bangunan tempat tinggal maupun pembangunan ruko, pembangunan jalan dan masih banyak lagi lainnya. Untuk keperluan tersebut, biasanya menggunakan produk ini mengingat ketahanannya yang cukup tinggi. Misal plat lantai ukuran 3×6 maka dipasang balok pembagi di tengah bentang sehingga menjadi 3×3 dan 3×3. Mar 31, 2017 · besi rangka adalah besi beton yang sudah dirangkai berbentuk segi empat dengan menggunakan cincin besi sebagai penyangga dan berfungsi sebagai rangka bangunan.

25+ Inspirasi Baru Ukuran Tiang Raja Rumah
25+ Inspirasi Baru Ukuran Tiang Raja Rumah from lh6.googleusercontent.com
Jul 31, 2010 · pak, kalau buat rumah 2 lantai untuk ruangan 3×4, ukuran kolom sama slofnya 15 x 25 dengan besi 4 d 13 and 2 d 10 ulir, memenuhi syarat ngak…. Misal plat lantai ukuran 3×6 maka dipasang balok pembagi di tengah bentang sehingga menjadi 3×3 dan 3×3. Apr 27, 2017 · untuk jawaban pertanyaannya adalah 4 sisi menopang diatas balok sekaligus balok menjadi pengikat keliling bondek, namun jika di perlukan tambahan balok anakan (balok pembagi) ketika bentang terlalu panjang. Mar 31, 2017 · besi rangka adalah besi beton yang sudah dirangkai berbentuk segi empat dengan menggunakan cincin besi sebagai penyangga dan berfungsi sebagai rangka bangunan. Berdasarkan bahan pembuatnya, ada beberapa jenis wajan seperti teflon, mamer, stainless steel, diamond coating, cast iron (selengkapnya bisa dibaca di sini). Balas apriani safitri | 21/09/2012 pukul 7:54 am Besi rangka digunakan untuk membuat tulangan beton, baik sloof maupun tiangnya. Ukuran kolom utama untuk bangunan rumah tinggal dua lantai biasanya dipakai ukuran 20/20.

Baik kondisi hujan maupun panas, tidak akan mengalami kerusakan.

Buat anda yang pekerja bangunan atau kontraktor bangunan perbandingan campuran beton 1 2 3 sudah pasti sering sekali mendengarnya, bahkan sudah sering mempraktekkan campuran tersebut dilapangan saat membangun suatu bangunan seperti bangunan tempat tinggal maupun pembangunan ruko, pembangunan jalan dan masih banyak lagi lainnya. Komposisi perbandingan campuran beton 1 2 3. Jul 05, 2021 · model teras rumah minimalis desain cantik dan sederhana ini dijamin bikin rumahmu tambah homey. Balas apriani safitri | 21/09/2012 pukul 7:54 am Mar 31, 2017 · besi rangka adalah besi beton yang sudah dirangkai berbentuk segi empat dengan menggunakan cincin besi sebagai penyangga dan berfungsi sebagai rangka bangunan. Jul 31, 2010 · pak, kalau buat rumah 2 lantai untuk ruangan 3×4, ukuran kolom sama slofnya 15 x 25 dengan besi 4 d 13 and 2 d 10 ulir, memenuhi syarat ngak…. Jun 29, 2021 · bagi mereka yang hobi masak, memiliki satu wajan saja tidak cukup. Tiang tersebut berupa besi tulangan kolom yang dipasang vertikal dan berfungsi untuk menahan beban bangunan. ️ walaupun berada di luar bangunan, teras rumah merupakan salah satu bagian paling berperan dalam menentukan keindahan sebuah hunian. Dec 29, 2020 · fitting pipa besi tersedia berbagai macam ukuran dan tipe. Baik kondisi hujan maupun panas, tidak akan mengalami kerusakan. Pada bagian atap rumah sengaja dipasangi pipa supaya aliran air hujan dapat turun kebawah dan tidak tercecer. Dengan tulangan pokok 8d 12 mm, yang artinya jumlah besi beton diameter 12 mm sebanyak 8 buah.

Posting Komentar

0 Komentar